Zbog svojih solidnih izolacijskih svojstava prigodan je za ugradnju u stambene objekte, a s obzirom na konstrukciju profila, pogodan je i za izradu elemenata većih statičkih zahtjeva.
Osim toga kompatibilanje sa ostalim Schüco sistemima, te ga zbog toga odlikuje zaista široka mogućnost primjene.
Standard
DIN EN ISO 10077-2
DIN EN 20140
DIN V ENV 1627
DIN EN 12208
DIN EN 12207
DIN EN 12210
Vrijednost
Uf=2.2 W/m2K
do SSK5
WK3
Klasa 9a
Klasa 4
Klasa C5/B5
Test
Termička izolacija
Smanjenje buke
Protuprovalnost
Vodonepropustivost
Permeabilnost zraka
Otpornost na vjetar
Detalji
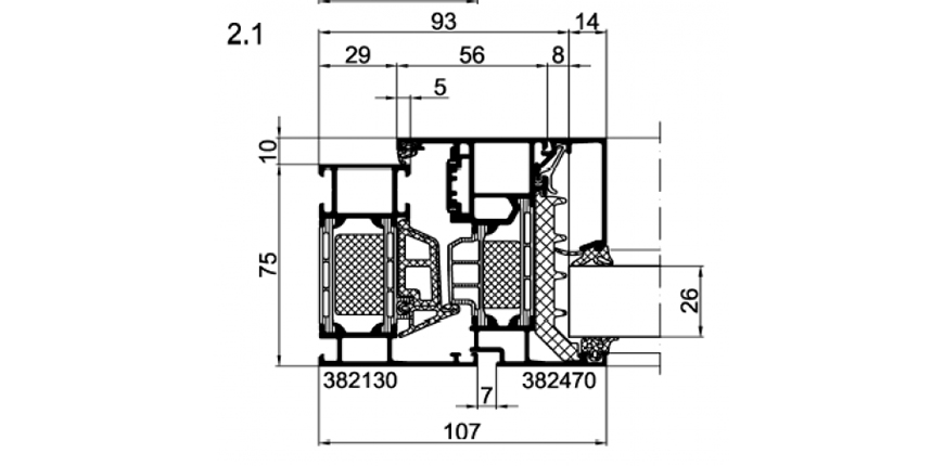
◘ Dimenzije: ugradbena dubina okvira 65mm, krilo 75mm.
◘ Klasičan ravni dizajn profila sa mogućnošću ugradnje zaobljenih staklodržača.
Poboljšana izolacijska svojstva i gotovo neograničene mogućnosti primjene
Boje
◘ Svu aluminijumsku stolariju moguće je dobiti u svim RAL bojama, špricanim bojama, te raznim imitacijama drveta.
Održavanje
◘ Održavanje je jednostavno i lako zbog izrazito glatkih površina i postojanosti materijala i boje.
Okov
◘ Originalni Schüco skriveni okov dozvoljava velike dimenzije krila i transparentnu arhitekturu.
Izolaciona svojstva
◘ Toplotna izolacija profila: Uf = 2,2 W/m2K.